作者:番茄
导读:
- CDE一致性评价承办情况一览
- 本周通过一致性评价情况汇总
- 多款首家过评药品信息介绍
截止2020年12月17日,CDE共承办一致性受理号2580个(636家企业的563个品种);其中855个受理号(255个品种)通过一致性评价。本周(12月11-17日)新增16个受理号获承办,14个品种获承办,其中包括7种注射剂(不包括视同通过)。本周新增52个品规(31个品种)通过或视同通过一致性评价,截止昨天,全国共1564个品规过评,涉及422个品种。
表1:CDE一致性评价承办一览表
根据健数科技统计,本周(12月11- 17日)新增52个品规(31个品种)通过或视同通过一致性评价,具体如下表:
表2:本周通过一致性评价情况汇总表
在本周(12月11- 17日)通过或视同通过一致性评价品规中,多个品种为首家过评,包括奥美沙坦酯氨氯地平片、枸橼酸舒芬太尼注射液、依替巴肽注射液、马来酸伊索拉定片等品种。
多款首家过评药品信息介绍
南京正大天晴:奥美沙坦酯氨氯地平片
12月14日,南京正大天晴心血管领域重点产品天舒平®(奥美沙坦酯氨氯地平片)获得国家药监局的药品生产批件,该产品属于化药4类,视同通过质量和疗效一致性评价。
奥美沙坦适用于治疗原发性高血压,尤其适用于中重度高血压以及单药治疗未达目标患者。两种降压药物联合可以强效降压、半衰期长,血药浓度稳定,可以满足24小时长效、强效、平稳的降压要求,同时持续降低患者清晨、诊室及夜间血压,是一种强效降压、达标率高、安全耐受性良好的临床优选治疗方案,为中国高血压患者带来降压治疗新选择。
图1:“奥美沙坦酯氨氯地平”的基本信息
江苏恩华药业:枸橼酸舒芬太尼注射液(50mg)
12月11日,国家药监局官网显示9款仿制药通过一致性评价,其中江苏恩华药业的枸橼酸舒芬太尼注射液为同类首家过评品种。
舒芬太尼(sufentanil)是芬太尼(fentanyl)N-4噻吩基衍生物,是一种强效的阿片类镇痛药。镇痛效应是吗啡的1000倍,是芬太尼的5~10倍,较芬太尼能够提供更为长久(1~2倍)的镇痛作用,而且起效快,心血管的稳定性,脑电图反应与芬太尼类同。临床上主要用于气管内插管使用人工呼吸的全身麻醉,作为复合麻醉的镇痛用药以及作为全身麻醉大手术的麻醉诱导和维持用药。
图2:“枸橼酸舒芬太尼”的基本信息
该品种在国内目前有2家上市企业,分别是宜昌人福和Eurocept B.V.,原研尚未在国内上市。根据健数科技数据显示除了江苏恩华此次首家过评以外,宜昌人福的一致性评价申请也处于审评阶段。
图3:“枸橼酸舒芬太尼”的审评信息
成都圣诺生物制药:依替巴肽注射液
12月11日,国家药监局发布药品药品批准证明文件信息,其中成都圣诺生物制药生产的依替巴肽注射液通过一致性评价,并为首家。依替巴肽是血小板糖蛋白Ⅱb/Ⅲa 受体拮抗剂。能够选择性、可逆性抑制血小板聚集的最终共同通路,可逆转因血栓形成而导致的缺血状态。适用于急性冠状动脉综合症患者的治疗。
图4:“依替巴肽”的基本信息
目前该品种在国内有两家上市企业,分别是江苏豪森和深圳翰宇,原研尚未在国内上市。
图5:“依替巴肽”的批文信息
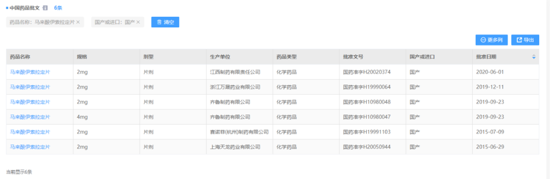
齐鲁制药:马来酸伊索拉定片(2mg、4mg)
12月16日,国家药监局官网显示,齐鲁制药的马来酸伊索拉定片通过一致性评价补充申请,并为该品种首家过评企业。马来酸伊索拉定片是一种胃粘膜保护剂,临床上常用于胃溃疡的治疗。其通过强化胃黏膜上皮细胞间的结合,抑制上皮细胞的剥离、脱落和细胞间隙的扩大,增强黏膜细胞本身的稳定性,以发挥黏膜防御作用,抑制有害物质透过黏膜。
图6:“马来酸伊索拉定”的基本信息
伊索拉定原研厂家为日本新药株式会社,已在国内上市,商品名为盖世龙。该产品国内市场仿制药企有5家,分别为江西制药、浙江万晟药业、齐鲁制药、赛诺菲、上海天龙药业。
图7:“马来酸伊索拉定”的批文信息
微信公众号回复一致性评价
可下载最新所有过一致性评价数据
往 期 精 彩
【声明】本文为原创文章,首发于微信公众号:健数科技(ID:drugeyes),如需转载请联系授权






浙公网安备33011002015279
本网站未发布麻醉药品、精神药品、医疗用毒性药品、放射性药品、戒毒药品和医疗机构制剂的产品信息
收藏
登录后参与评论
暂无评论